
PFAFF 1/4 inch Quilt- und Patchworkfuß, Klarsicht
Title
22,50 €
inkl. MwSt.
zzgl. Versandkosten
22,50 €
SKU: 820883096
Beschreibung
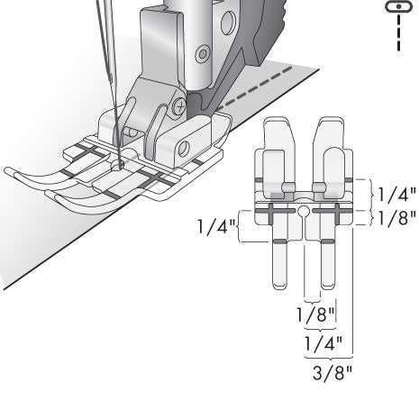
PFAFF 1/4" Quilt- und Patchworkfuß, Klarsicht - für den perfekten Durchblick!
Der durchsichtige PFAFF 1/4" Quilt und Patchworkfuß, Klarsicht eignet sich besonders gut zum Zusammennähen von Stoffstücken, da er beim Nähen von 1/4"-, 1/8"- und 3/8"-Nähten beste Sicht bietet. Die roten Linien am Nähfuß kennzeichnen 1/4"-Drehpunkte vor und hinter der Nadel.
Anwendung
- Legen Sie zwei Stoffstücke rechts auf rechts.
- Wählen Sie einen Geradstich aus, Stichlänge 2,5.
- Aktivieren Sie das IDT™-SYSTEM.
- Legen Sie den Stoff unter den PFAFF 1/4" Quilt und Patchworkfuß, Klarsicht. Bei Verwendung einer Nahtzugabe von 1/8" führen Sie den Stoff an der Innenkante der Zehe entlang. Bei Verwendung einer Nahtzugabe von 1/4" führen Sie den Stoff an der Außenkante der Zehe entlang. Bei Verwendung einer Nahtzugabe von 3/8" führen Sie den Stoff an der Außenkante des Nähfußes entlang.
- Um 1/4" vom Stoffende zu drehen, stoppen Sie den Nähvorgang, wenn die Stoffkante die erste rote Markierung am Nähfuß erreicht.
Passend für die PFAFF Maschinen mit folgendem Modellcode:
D E G J K L
Hier finden Sie den Modellcode Ihrer PFAFF Maschine.
Handelsmarke: Pfaff | Hersteller: VSM Group AB | Anschrift: Soldattorpsgaten 3, SE-55474 Jonkoping | E-Mail: sewing.emea@svpworldwide.com | Herstellersitz: innerhalb der EU
PFAFF 1/4 inch Quilt- und Patchworkfuß, Klarsicht
22,50 €